一、使用条件
SPL、DPL型网片式油滤器适用于各种型号的稀油润滑装置的过滤,应用于石油、电力、化工、冶金、建材、轻工等各种工业部门以提高油的清洁度。 网片式油滤器分为SPL双筒系列和DPL 单筒系列、油滤器运行可靠,维修方便,不需要其他动力源,过滤元件为金属丝网制成的滤片,具有强度高,通油能力大,确保过滤精度,便于清洗等特点,SPL双筒系列能在主机运行过程中实现不停机转换和清洗。
二、技术参数
1、最高工作温度95℃; 2、最高工作压力0.8MPa; 3、滤芯清洗压降0.15MPa; 4、试验介质粘度为24cSt 的清洁油液,当以额定流量通过油滤器时原始压降不大于0.08MPa。
三、外形尺寸
SPL15~SPL40-C(侧置式)
安装形式;D 为顶挂式C- 为侧置式,压差发讯器为选配。
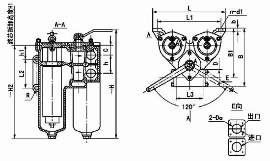
SPL50~SPL80-C(侧置式) SPL50~SPL80-X(下置式)
安装形式X- 为下置式C- 为侧置式 ()内尺寸为侧置式 压差发讯器为选配件 SPL80 提升机构见附图(一)
SPL100~SPL125-X(下置式)
法兰标准GB573:压差发讯器为选配件。
SPL150~SPL200-X(下置式)
DPL单筒网片滤油器
DPL100~DPL200
法兰标准:GB573-65(可根据需要确定):DN100、150-3 组滤芯组件 DN200-4 组滤芯组件;压差发讯器为选配件。